Click on the picture image to send the IMAGE URL back to the referring screen.

Sort by:

Display by picture type:  [CARS(default)]  [PERSONAL]  [TECHNICAL]  [CLASSAD]  [STANDBYV]


Welcome to the gallery. All exhibits are volunteered by users.

There are 14003 total exhibits.

[ADD A NEW EXHIBIT]

Search criteria: pix_type=TECHNICAL. [CLEAR]
Showing 1961 through 1980 of 14003 matching exhibits.
<< <prev 94 95 96 97 98 99 100 101 102 103 104 105 106 107 108 109 110 111 112 113 114 next> >>

B230F & AW71L

Volvo 200 -- B230F & AW71L
POSTED BY
AOG[SHOW ALL]
DATE
HTML
CITY
pesotum
STATE
IL
COUNTRY
US
NOTE
This is my "new" B230F and AW71L combo going into my 1990 245. Chassis has almost 250k, new engine has 175k, new trans has 139k. Just did this a month ago - runs great!

740 thermostat stud

Volvo 700 -- 740 thermostat stud
POSTED BY
duce1[SHOW ALL]
DATE
HTML
CITY
Weaverville
STATE
NC
COUNTRY
US
NOTE
Broken thermostat stud

98 xc70 200k

Volvo V70 -- 98 xc70 200k
POSTED BY
stevestlaurent[SHOW ALL]
DATE
HTML
STATE
MA
COUNTRY
US

'04 S60R: K24 turbo detached from catalytic converter

Volvo S60 -- '04 S60R: K24 turbo detached from catalytic converter
POSTED BY
woofpack4[SHOW ALL]
DATE
HTML
CITY
Vista
STATE
CA
COUNTRY
US

oil pressure sensor

Volvo 200 -- oil pressure sensor
POSTED BY
josseppi[SHOW ALL]
DATE
HTML
CITY
El Cerrito
STATE
CA
COUNTRY
US

oil sending wire?

Volvo 200 -- oil sending wire?
POSTED BY
josseppi[SHOW ALL]
DATE
HTML
CITY
El Cerrito
STATE
CA
COUNTRY
US

fuse

Volvo 120-130 -- fuse
POSTED BY
simplesimon[SHOW ALL]
DATE
HTML
COUNTRY
US
NOTE
test 110223

Replacement Fuse Box Mod

Volvo 120-130 -- Replacement Fuse Box Mod
POSTED BY
sandyuman[SHOW ALL]
DATE
HTML
CITY
Asheville
STATE
NC
COUNTRY
US

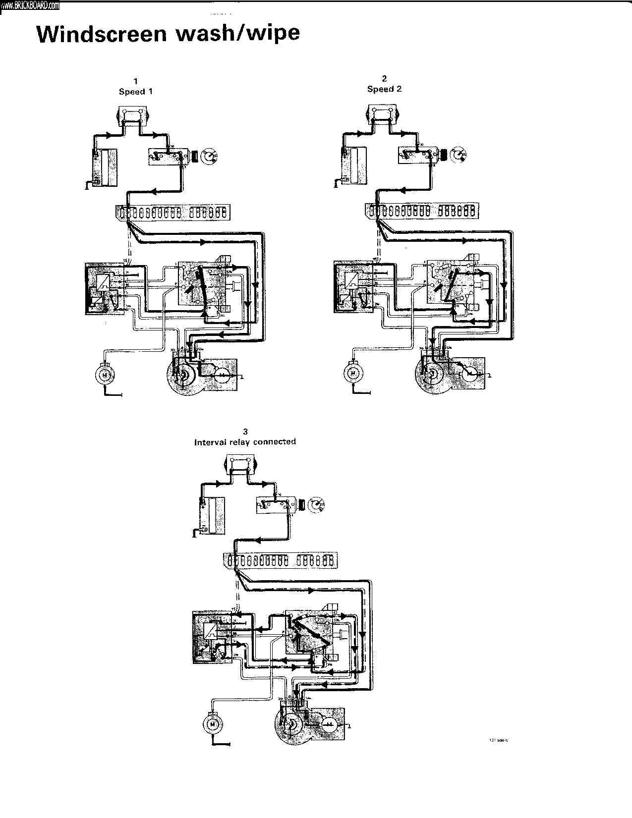
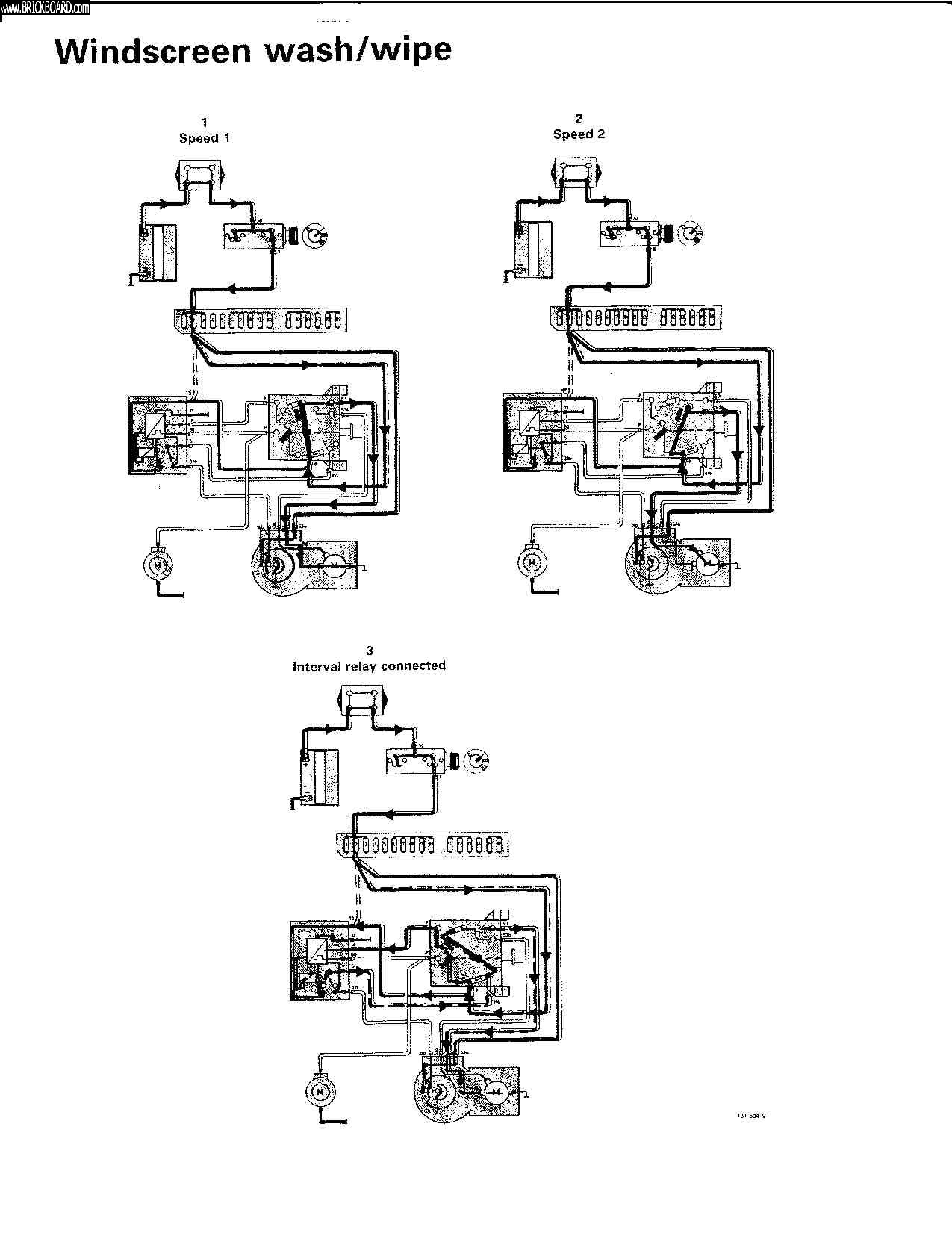
Wiper Motor Layout

Volvo 200 -- Wiper Motor Layout
POSTED BY
PLT[SHOW ALL]
DATE
HTML
CITY
Pasadena
STATE
TX
COUNTRY
US
NOTE
Wiper Layout

240 Wiper Motor

Volvo 200 -- 240 Wiper Motor
POSTED BY
PLT[SHOW ALL]
DATE
HTML
CITY
Pasadena
STATE
TX
COUNTRY
US

240 Wiper Motor

Volvo 200 -- 240 Wiper Motor
POSTED BY
PLT[SHOW ALL]
DATE
HTML
CITY
Pasadena
STATE
TX
COUNTRY
US

Check Valve for Heater Controls

Volvo 200 -- Check Valve for Heater Controls
POSTED BY
H4L.9000[SHOW ALL]
DATE
HTML
CITY
Mesa Co.
STATE
CO
COUNTRY
US

1991 Volvo 240 water pump mount

Volvo 200 -- 1991 Volvo 240 water pump mount
POSTED BY
volvogeek[SHOW ALL]
DATE
HTML
CITY
Seattle
STATE
WA
COUNTRY
US

1992 240

Volvo 200 -- 1992 240
POSTED BY
stevelloyd[SHOW ALL]
DATE
HTML
CITY
Clyde
STATE
NC
COUNTRY
US
NOTE
mystery wire

Not a GT 2

Volvo 120-130 -- Not a GT 2
POSTED BY
HemanMarvel[SHOW ALL]
DATE
HTML
CITY
Copenhagen
STATE
AE
COUNTRY
DK

Not a GT

Volvo 120-130 -- Not a GT
POSTED BY
HemanMarvel[SHOW ALL]
DATE
HTML
CITY
Copenhagen
STATE
AE
COUNTRY
DK
NOTE
Typedesignation shows it's not a GT

Clock position

Volvo 120-130 -- Clock position
POSTED BY
lukeball[SHOW ALL]
DATE
HTML
CITY
Columbus
STATE
OH
COUNTRY
US

1990 740GL Coil and Power Stage

Volvo 700 -- 1990 740GL Coil and Power Stage
POSTED BY
mrjoeski[SHOW ALL]
DATE
HTML
COUNTRY
US

Regina Power Stage Backing

Volvo 700 -- Regina Power Stage Backing
POSTED BY
mrjoeski[SHOW ALL]
DATE
HTML
COUNTRY
US

Transmission Line Lieak

Volvo 200 -- Transmission Line Lieak
POSTED BY
matt82dl[SHOW ALL]
DATE
HTML
CITY
Stoughton
STATE
WI
COUNTRY
US
Search criteria: pix_type=TECHNICAL. [CLEAR]
Showing 1961 through 1980 of 14003 matching exhibits.
<< <prev 94 95 96 97 98 99 100 101 102 103 104 105 106 107 108 109 110 111 112 113 114 next> >>


©Jarrod Stenberg 1997-2022. All material except where indicated.


All participants agree to these terms.

Brickboard.com is not affiliated with nor sponsored by AB Volvo, Volvo Car Corporation, Volvo Cars of North America, Inc. or Ford Motor Company. Brickboard.com is a Volvo owner/enthusiast site, similar to a club, and does not intend to pose as an official Volvo site. The official Volvo site can be found here.